Назначение:
Мотор-редуктор МР.00 применяется в механизмах поворота мобильных кранов. Планетарная конструкция редуктора позволяет выдерживать высокие значения крутящего момента при малых габаритных размерах.
Применяемость:
- МР.00.01 - привод поворотной платформы автокранов «Галичанин» и «Клинцы» грузоподъемностью 25 тонн.
- МР.00.02 - привод поворотной платформы автокранов «Галичанин» грузоподъемностью 32 тонны.
- МР.00.03 - привод поворотной платформы автокранов «Челябинец» (ЧМЗ) грузоподъемностью 25 и 32 тонны.
Особенности конструкции:
- компактный трехступенчатый планетарный редуктор;
- аксиально-поршневой мотор с настраиваемыми предохранительными клапанами;
- возможность установки гидромотора объемом 56 см3; возможность установки г/м объемом 112.80.56
- фрикционный блок; многодисковый фрикционный тормоз с гидравлическим управлением.
- малый вес и высокая эффективность;
- простой монтаж;
- легкая смена масла.
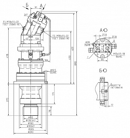
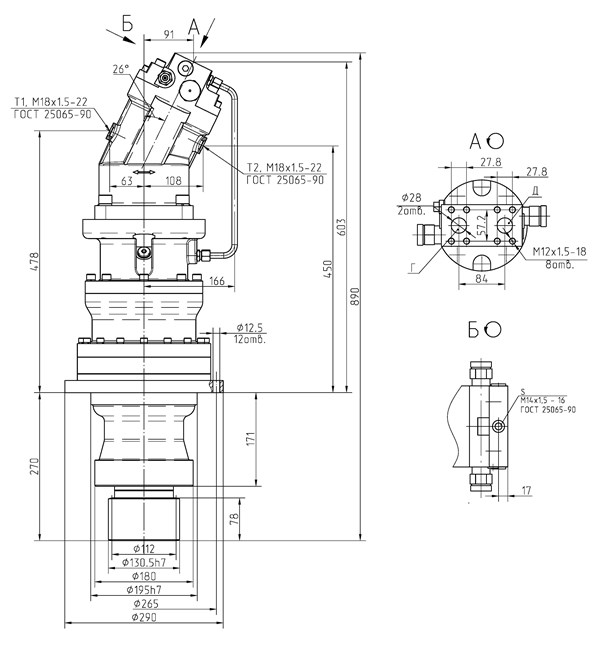
Технические характеристики:
| Параметр | Значение | |
| Передаточное число | 63,1 | |
| Выходной крутящий момент редуктора, Нм | 3650 | |
| Максимальная выходная скорость, об/мин | 19 | |
| Масса, кг | 95±10% | |
| Выходной вал | Модуль | 8 |
| Число зубьев | 14 | |
| Рабочий объем гидромотора, см3 | 112 |
|
