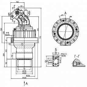
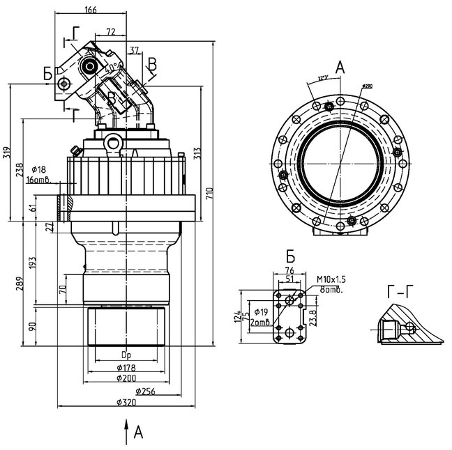
Назначение:
Мотор-редуктор применяется в механизмах поворота платформ экскаваторов. Планетарная конструкция редуктора позволяет выдерживать высокие значения крутящего момента при малых габаритных размерах.
Применяемость:
МР.20.01 – привод поворотной платформы экскаваторов ЭКСМАШ E140W и E170W.
Возможность изготовления мотор-редуктора с выносным установочным фланцем и ГЧ (МР.20.02)
Особенности конструкции:
- компактный двухступенчатый планетарный редуктор;
- аксиально-поршневой мотор с настраиваемыми предохранительными клапанами;
- малый вес и высокая эффективность;
- простой монтаж;
- легкая смена масла.
- возможность установки многодискового фрикционного тормоза с гидравлическим управлением.


